作者简介:汪三贵,中国人民大学农业与农村发展学院教授,博士生导师;周诗凯,中国人民大学农业与农村发展学院博士生
文献来源:《农业技术经济》2025年第8期
摘要:中国农村集体产权制度改革是农村地区一项重要的制度改革。政府出台了一系列法律和政策文件,明确支持和推动农村集体产权制度改革。本文探讨了农村集体产权制度改革与农户收入之间的关系,运用双重差分(DID)模型和倾向得分匹配—双重差分(PSM-DID)模型,并利用CFPS数据库2628个样本农户的5期平衡面板数据进行实证检验。结果表明,农村集体产权制度改革对农民收入具有促进作用,且具有一定的持续性。农村集体产权制度改革能够显著提升处于低收入组家庭的收入。农村集体产权制度改革主要通过优化劳动力资源配置和提高农业生产投入两个途径来实现农民增收。由此,要进一步提升农村集体产权制度改革成效,从产业、就业等途径促进农民增收,还应规范和完善土地流转的保障机制,增加农户的财产性收入。
关键词:农村集体产权制度改革;农户收入;多期双重差分模型;农村集体经济
一、引言
随着中国农村经济的快速发展,农村集体产权制度改革已成为深化农村改革的重要议题。党和国家对此项改革高度重视,自2014年国家相关部门审议通过农村集体产权制度改革试点方案以来,改革工作在全国范围内逐步展开。2015—2019年,全国共开展了四批试点,覆盖了80%的县级单位。截至2022年初,我国农村集体产权制度改革已取得阶段性成果。通过系统推进清产核资工作,共核实农村集体资产总额达7.7万亿元,清查集体土地等资源面积65.5亿亩;在成员身份认定方面,全国累计确认集体经济组织成员9亿人;全国已建立健全乡镇、村、组三级集体经济组织体系,共计约96万个,并全部在农业农村部门完成登记注册,标志着改革主体任务已基本完成。在中国经济发展进入新常态的背景下,农村集体产权制度改革作为深化农村改革、激发农村发展活力的重要环节,对于促进农村经济的持续健康发展、实现农民增收、缩小城乡差距、推动农业现代化具有重要的理论和现实意义,是实现乡村振兴的重要途径(赵鹏等,2022)。积极推动改革的深入,将有助于构建更加公平合理的收入分配制度,增强农村集体经济实力,促进农民稳定增收,缩小城乡收入差距,实现社会的整体和谐与进步。
然而,改革的实施效果如何,是否真正实现了预期目标,仍是一个值得深入探讨的问题。农民收入的增长是衡量农村改革成效的重要指标,近年来虽然中国农民收入水平持续提高,但与城市居民收入差距依然较大(罗明忠等,2022)。农村集体产权制度改革的重要目标就是通过股份权能改革提高农民的收入水平(夏英等,2018)。因此,深入研究农村集体产权制度改革对农民收入的影响及其作用机制,对于制定更加有效的农村集体产权制度改革政策体系,促进农民收入持续增长具有重要的现实意义。
农村集体产权制度改革作为激活农村资源要素、促进农民增收的重要制度安排,近年来受到学界广泛关注。学者们围绕改革的关键实施步骤展开研究,包括清产核资、成员身份认定、折股量化和成立股份经济合作社(黄延信等,2014;黄延信,2015;张红宇,2015;苑鹏等,2016;夏英等,2018)。清产核资旨在明确改革客体,实现“三清”,即通过资产评估实现“问题清”,通过信息化管理实现“账目清”,通过重新界定资产权属实现“产权清”(夏英等,2018);成员身份认定则聚焦改革主体的界定,各地根据实际情况探索适宜的认定方式,如江苏昆山群益模式、上海松江模式、浙江温州模式、广东南海乌沙模式、四川成都模式、北京昌平大柳树模式以及甘肃兰州范家湾模式这7种改革模式中,大多依据当地户口确定,但也有地区考虑长期居住因素(闵师等,2019);折股量化涉及股权设置、管理与经营等问题,其制度创新在于明确了占有权、收益权、继承权、有偿退出权、抵押权和担保权等(宋洪远等,2015;张占耕,2016;孔祥智,2017;管洪彦,2019;房绍坤等,2021);成立股份经济合作社则是为了实现集体资产保值增值,各地积极探索创新经营治理模式(高强等,2020)。值得注意的是,改革过程中仍存在一些争议和挑战。例如,在成员身份认定过程中,“外嫁女、入赘男、农转非”等特殊情况的处理方式在不同地区存在差异(陈标金,2011;柏兰芝,2013;惠建利,2018)。解决这些问题不仅需要理论研究的深化,还需要在实践中不断探索和完善。
此外,学者们对农村集体产权制度改革效果也开展了深入的研究。黎智洪等(2023)认为农村“三变”改革显著增加了农户收入,江帆等(2021)也通过分析省级层面数据得出农村集体产权制度改革促进了农户增收的结论。也有学者研究发现农村集体产权制度改革对县域经济发展、缩小城乡收入差距有显著的正向影响(罗明忠等,2022;彭凌志等,2024)。钟桂荔等(2017)以及芦千文等(2022)的研究发现农村集体产权制度改革对壮大农村集体经济具有促进作用;但胡凌啸等(2024)认为产权改革对新型农村集体经济发展的效能仍有待进一步明晰。张红宇等(2020)对4个省份24个村(社区)的调查结果显示,农村集体产权制度改革能够推动农业高质量发展、提升农民获得感和幸福感、促进乡村治理体系升级以及强化党的基层领导,具体体现在优化资源配置、增加农民收入、明晰组织关系、增强党组织凝聚力等方面。
现有研究多侧重于农村集体产权制度改革对农业和农村的影响,而对农民增收这一核心问题的关注则多停留在理论推理层面,缺乏基于长期微观农户大样本调查数据的实证研究;并且现有研究往往局限于地区经验和典型模式的剖析,缺乏系统性考量,难以全面揭示改革带动农村居民增收的内在机制。本文聚焦农村集体产权制度改革对农户收入的影响及其动态效应,在理论分析的基础上,利用CFPS数据库2628个农户数据,采用多时点双重差分法实证研究农村集体产权制度改革对农户增收的效果和机制,旨在系统全面考察改革实践,客观评估改革绩效及其作用机制,以期为总结改革经验、推广改革实践提供坚实的理论基础和实证依据,为完善相关体制机制提供参考。
二、理论分析和研究假说
(一)产权理论与农村集体产权制度改革
产权理论强调产权对资源分配的重要性,明确的产权是资源有效分配的基础(温雪等,2015)。在这一理论下,清晰的产权能够通过市场竞争和自由交换,无论初始配置如何,都能促进资源的重新分配,提高资源利用率,并最终实现资源的最佳配置。长期以来,中国农村地区存在着产权归属模糊问题,农村集体资产产权不明晰,使得集体资产的管理和运营缺乏有效的监督和激励机制,容易导致资产流失和低效使用(罗明忠等,2022),农村集体产权制度改革正是在这一背景下开展。农村集体产权制度改革的主要目标是构建“归属清晰、权能完整、流转顺畅、保护严格的中国特色社会主义农村集体产权制度”,内容主要包括“加强资产管理”“推进农村集体经营性资产股份合作制”以及“明确农村集体经济组织法人身份”等(芦千文等,2022)。加强资产管理有助于摸清农村集体资产家底,提高资产使用效率,避免资产闲置和浪费。通过详细清查和评估集体资产,明确资产的数量、质量和价值,能够为资产的合理配置和有效利用提供依据。推进股份合作制能够明确农民的产权份额,增强农民对集体资产的参与感和获得感,使农民成为集体资产的真正主人,从而激发他们对资产保值增值的积极性。明确农村集体经济组织法人身份,为农村集体经济组织参与市场竞争和经济活动提供了合法地位和规范保障,有助于提升农村集体经济组织的运营效率和市场竞争力。
从理论层面来看,这一改革过程不仅丰富了中国特色的农村产权理论,还进一步完善了农村基本经营制度。它为解决农村产权问题提供了一个独特的中国方案,体现了产权理论在特定社会经济背景下的创新应用。在实践层面,这一改革对农村经济发展产生了多方面的积极影响。第一,明晰产权关系,激发农民的积极性与创造性,为农村集体经济的健康发展筑牢制度根基(张浩等,2021)。第二,推动农村要素市场的构建与成熟,为农村经济的市场化运作创造条件,吸引外部资源流入,优化资源配置,增强农村经济的活力与竞争力(涂圣伟,2021)。举例来说,资本可顺利进入农业生产、农产品加工和农村电商等领域,推动农村产业升级,创造更多就业岗位与经济增长点,拓宽农民增收渠道(孔祥智,2020)。第三,清晰的产权制度有效降低市场交易中的不确定性与风险,促进土地、劳动力等要素依据市场需求与价格信号自由流动、优化组合,全面提升农村经济的整体效率与效益(孔祥智等,2020)。
(二)农村集体产权制度改革促进农民增收的机制
农村集体产权制度改革作为一项重要的制度创新,其核心机制是通过优化要素资源配置来促进农民收入的增长(梁春梅等,2018;胡凌啸等,2024)。这一改革的关键在于将集体资产折股量化到户,从而赋予农民更充分的财产权,并建立起规范的产权制度和运营机制(马池春等,2018),最终确保农民能够有效分享制度改革带来的收入红利。本文构建了如图1所示的逻辑框架来详细分析农村集体产权制度改革推动农民收入增长的机制。
一是农村集体产权制度改革通过土地资源重新配置提高了农民的财产性收入。农村集体产权制度改革明晰农村集体资产的产权关系,通过清产核资、折股量化等举措,对集体经营性资产确权到户,实现“资源变资产”“资金变股金”“农民变股东”,确保了农民对集体资源的合法权益(梁春梅等,2018)。这种权利的保障,使得农民能够更主动地参与到经济活动中,增强了其财产性收入的获取能力(孔祥智等,2020)。在乡村基层,集体经济组织开展农村集体经济组织股份合作制改革,吸引农民通过土地资源入股。这种模式不仅提高了资源的使用效率,还推动了集体经济的发展(陈慈等,2020);同时,土地流转使农民能够优化资源配置,通过出租闲置的土地获得租金收入或入股分红(柯炼等,2022;姜海等,2024)。农民通过入股或出租获得的收益,不仅是直接的财产性收入,还为其提供了参与经济活动、获取信息和资源的机会。农民财产性收入来源的多样化,能够提高农户的风险分散能力,增强了收入结构的协调性,使得他们的经济状况更具弹性。这种模式使得即使在外务工的农民,也能通过土地资产的增值和经营收益获得额外的财产性收入,进一步改善家庭经济状况。
二是农村集体产权制度改革通过劳动力资源重新配置提高了农民的工资性收入。在改革前,集体资产权属模糊,农民对集体资产的权益缺乏明确界定,导致农民面临“离土失权”风险,农民难以放心外出务工或参与本地非农产业(江帆等,2021)。农村集体产权制度改革通过明晰村集体资产,确定农民的股份权能,改变了这一局面。清晰的产权界定和保护制度,有助于激发农村土地、资本、劳动力等要素活力,促进要素城乡自由流动(罗明忠等,2022),同时,农民对自身权益有了清晰认知,消除了农民对权益被侵占的顾虑,增强其务工的意愿(彭凌志等,2024)。并且,随着农村集体产权制度改革的推进,农民将土地资源转向集体经济,农村经济逐渐从以农业为主的第一产业向第二、三产业转型。这一转型不仅丰富了农民的收入来源,也提升了其整体经济水平,在新的经济结构中,农民通过参与非农产业,获得了稳定的工资性收入,使得收入结构更加多元化(柯炼等,2022)。劳动力转移是促进农民增收的重要途径,主要包括就地转移和外出务工两种方式(周力等,2022)。就地转移使得农民能够在本地及周边村庄实现就业,不仅降低了农民的迁移成本,还促进了当地经济的发展。农民可以在集体经济企业或农业生产环节中找到合适的工作,获取工资收入。这种方式有效地消化了农村的富余劳动力,提高了土地和人力资源的使用效率。外出务工是另一个重要的收入来源,农民进入城市从事第二、三产业工作,获得更高的工资收入(吕沛璐等,2022)。这种方式使得农民能够接触到更广泛的经济机会,提高了其经济地位。此外,外出务工的农民往往能够将收入带回家乡,促进了农村经济的整体发展。
三是农村集体产权制度改革通过增加农资投入提高了农民的经营性收入。经营性收入不仅是农民生活的主要保障,也是推动农村集体经济发展的重要动力(胡凌啸等,2024)。在农村集体产权制度改革前,农村普遍存在产权归属不明晰、权能不完整的问题,这严重制约了农民在农业生产过程中的农资投入与经营性收入提升。一方面,由于产权界定模糊,农民难以凭借土地等资产进行抵押融资,面临融资渠道狭窄、资金匮乏的困境,导致无力购置高质量的农资。另一方面,缺乏稳定的产权保障,致使农民对农业生产缺乏长期规划,不敢贸然加大农资投入,严重影响了农业生产效率与农产品质量,进而限制了经营性收入的增长。改革后,农户在股份合作经济的推动下,积极增加农资等生产要素的投入。具体来说,农村集体产权制度改革有力推动了新型农业经营主体的发展(彭凌志等,2024),农民可以通过股份合作、贷款等方式获取资金,购买高质量的种子、化肥和农药,提高生产效率(孔祥智等,2016)。集体经济组织和合作社提供技术指导,帮助农户掌握新的农业技术,提高产品产量和质量。并且通过股份合作,农民可以共同使用农业机械和其他生产设施,降低生产成本,提高整体效益(孔祥智等,2016)。此外,通过明确土地权属,增强了政策的稳定性,农户对自有土地的使用和收益有了更强的保障,对未来的收益有了更明确的预期,进而激励他们在农业生产中加大投入,提高经营强度(荣庆娇等,2015;许时蕾等,2020;周力等,2022)。

图1 农村集体产权制度改革促进农民增收的逻辑框架
综上所述,农村集体产权制度改革增加农户收入的内在机制在于产权明晰所带来的资源要素重新配置与价值创造。具体来讲,农村集体产权制度改革通过促进土地资源的有效利用和劳动力的合理流动,为农民创造了多元化的收入来源。农民从第一产业向第二、三产业转移,收入结构得到了优化,一方面,农民通过合理利用土地和资源(例如流转、入股等),财产性收入持续增长;另一方面,农业生产的规模化、集约化程度提高,带动经营性收入提升。这种多元化的收入增长模式,不仅推动了农村经济的可持续发展,也促进了整体经济水平的提升。
根据以上理论分析,本文提出如下研究假说:
假说1:农村集体产权制度改革对增加农户收入具有促进作用。
假说2a:农村集体产权制度改革通过土地资源重新配置促进了农户增收。
假说2b:农村集体产权制度改革通过劳动力资源重新配置促进了农户增收。
假说2c:农村集体产权制度改革通过增加农业生产投入促进了农户增收。
三、数据、变量与模型设定
(一)数据来源与处理
本文所使用的数据来源于中国家庭追踪调查(Chinese Family Panel Studies, CFPS)。目前CFPS已进行七轮数据搜集(2010年、2012年、2014年、2016年、2018年、2020年和2022年)。由于2020年后新冠疫情引发的特殊经济环境,例如阶段性封控导致的劳动力流动限制、农产品供应链中断等,使得农户收入出现非典型波动,这种外生冲击可能干扰对改革效果的评估。通过聚焦新冠疫情前数据,能够更为真实地反映改革对农户收入的情况,因此本文仅使用2010—2020年的调查数据。
本文关注的政策识别变量是农村集体产权制度改革试点县。农村集体产权制度改革聚焦于多方面开展试点工作,具体涵盖全面强化农村集体资产管理,对农村集体经济组织成员身份进行全面确认,加速推动经营性资产股份合作制改革进程,进一步完善农民集体资产股份权能,充分发挥农村集体经济组织的功能作用,以及积极拓宽农村集体经济发展路径等。该变量的数据来源于农业农村部、国家发展和改革委员会网站发布的四批农村集体产权制度改革试点创建名单。2015年,国家在29个县(市、区)率先开展了试点;2017年,又增加了100个县(市、区)参与改革试点。2018年,除吉林、江苏和山东3个省份外,还将河北省石家庄市等50个地市和天津市武清区等150个县(市、区)纳入试点单位。进一步地,2019年又决定将12个省份、39个地市以及163个县(市、区)列为农村集体产权制度改革试点单位。
在数据处理上,由于CFPS数据库从2010年到2020年跨期10年,跨期较长,许多问题发生了变化,一些数据也缺失比较严重,为尽量满足本文研究问题和确保平衡面板数据样本数量,本文使用数据范围为2012—2020年,采集到的数据对应年份为2011—2019年(后文若无特殊说明,均指采集到数据所对应的年份),数据具体年份为2011年、2013年、2015年、2017年和2019年,包括了四批农村集体产权制度改革试点公布前的数据,也包括2019年第四期试点公布时的数据,为使用DID方法进行相关实证检验奠定了良好的数据基础。在上述初步筛选和剔除存在数据质量问题的样本后,最终建立了从2011—2019年25个省份158个县2628户农户的5期平衡面板数据,匹配上了108个农村集体产权制度改革试点县,处在农村集体产权制度改革试点县内的农户有1901户,处在非试点县内的农户有727户,样本量总计为13140个。为了更好地反映实际情况,剔除样本中的异常值,本文对各连续变量指标进行1%的缩尾处理。
(二)变量选择与说明
1.被解释变量。
本文的被解释变量是农村家庭年人均纯收入(yict),表示t年c县i农户家庭人均纯收入。
2.核心解释变量。
核心解释变量是农村集体产权制度改革政策交互项(Dict)。若农户所处县(市、区)当年是农村集体产权制度改革试点,取值为1,否则取值为0。
3.控制变量。
在控制变量的选取中,参照收入决定方程和已有研究的常规做法(程名望等,2016;宁静等,2019),本文基于数据可得性把影响农户家庭收入的控制因素分为两类:一是户主特征变量,包括户主性别、年龄、受教育程度、健康情况;二是农户家庭禀赋特征变量,包括家庭净资产、家庭存款和家庭所处社会地位。
4.中介变量。
借鉴已有研究(耿宁等,2024),本文将农户按照非农收入占比的不同分为以农业生产为主的生产型农户和以非农业生产为主的兼业型农户。在变量选择上,根据前文的理论分析,以及借鉴相关研究(刘俊杰等,2015)和基于收集到的能够衡量相关作用机制的代理变量,本文选取“土地是否出租”“非农劳动力占家庭总劳动力的比例”作为土地资源配置和劳动力资源配置的代理变量,用来检验兼业型农户增收机制;“每单位土地资产投入的农业生产成本”作为农业生产投入的代理变量,用来检验生产型农户增收机制。
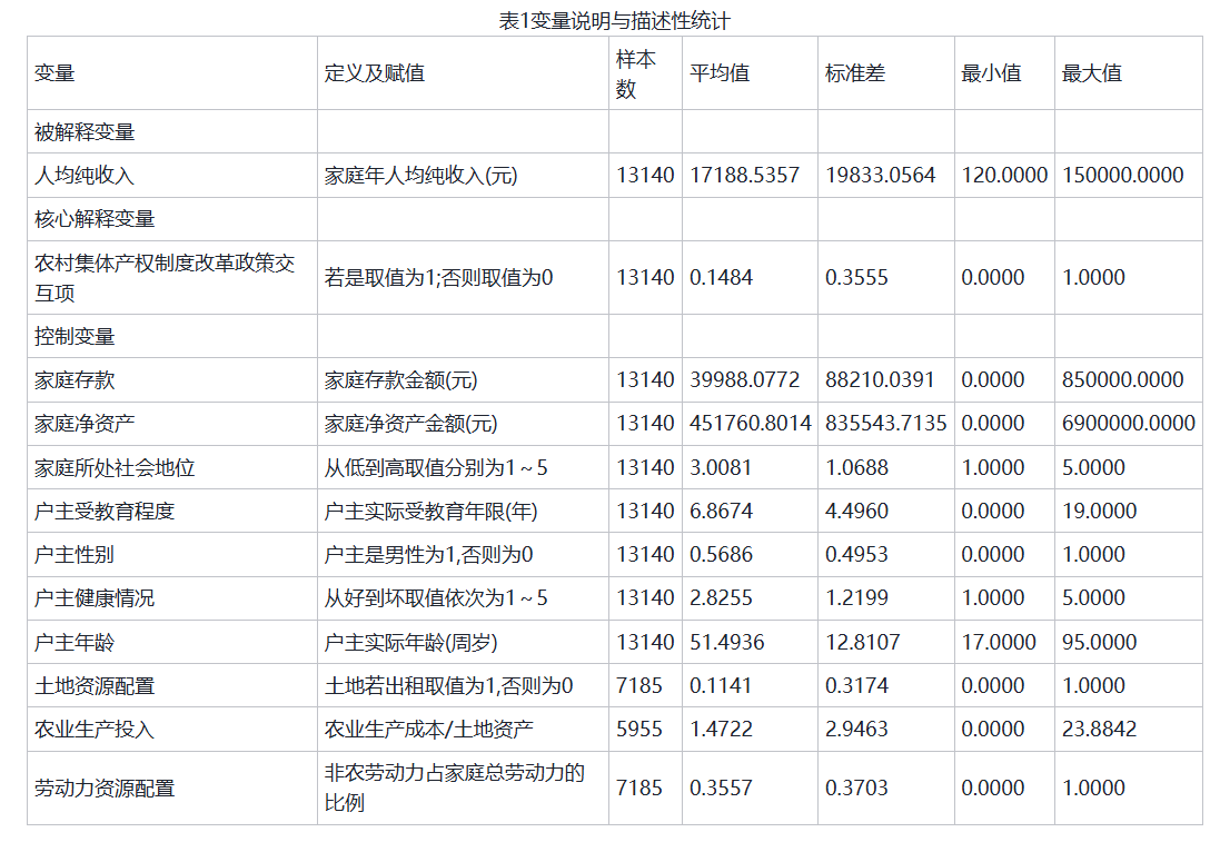
主要变量的描述性统计如表1所示。

(三)模型设定
本文采用双重差分模型(DID)评估农村集体产权制度改革对农户收入的影响,将处在农村集体产权制度改革试点县(市、区)的农户作为处理组,其他县(市、区)的农户作为对照组。由于各地区试点开展时间不一致,本文参照Beck等(2010)的做法,采用多期双重差分模型进行研究。本文构建模型如下:
yict=α+γDict+βXit+ρt+ϑi+εit(1)
其中,下标c指代县,i指代农户,t表示年份(t=2011,2013,2015,2017,2019),yict是被解释变量,表示t年c县i农户收入的相关变量。
核心解释变量为政策变量Dict(treatmentic×postt)。本文关注的农村集体产权制度改革试点县共有2015年、2017年、2018年和2019年四批试点,treatmentic和postt分别表示试点县虚拟变量和时间虚拟变量,c县i农户若位于农村集体产权制度试点县,则treatmentic取值为1,否则取值为0;对于第一批试点县,当t≥2015时,postt取值为1,否则取值为0;对于第二批试点县,当t≥2017时,postt取值为1,否则取值为0;对于第三批试点县,当t≥2018时,postt取值为1,否则取值为0;对于第四批试点县,当t≥2019时,postt取值为1,否则取值为0。即Dict(treatmentic×postt)表示c县i农户在t年是否位于农村集体产权制度改革试点县内,如果是,取值为1,否则取值为0。Xit表示户主个体特征、农户家庭特征等控制变量;ρt表示年份固定效应,ϑi表示农户个体固定效应,εit表示随机扰动项。
为了检验农村集体产权制度改革影响农民增收的作用路径和机制,借鉴相关研究(江艇,2022)的方法,并结合已有文献的做法(温忠麟等,2014),在第一步识别农村集体产权制度改革对农民增收的基础上,采用逐步回归法进行中介效应检验,具体模型构建如下:
Mit=α+γDict+βXit+ρt+ϑi+εit(2)
yict=α+γDict+σMit+βXit+ρt+ϑi+εit(3)
其中,Mit为中介效应变量,包括土地资源配置、劳动力资源配置和农业生产投入,其余变量与前文一致。
四、实证结果与分析
(一)农村集体产权制度改革对农户增收的总体影响
1.基准回归结果。
表2是农村集体产权制度改革对农户家庭人均纯收入影响的DID回归结果,汇报的是在控制时间固定效应和农户个体固定效应后的平均处理效应。表2列显示,在不加任何控制变量时,交互项系数显著为正。在此基础上,列在加入户主层面和家庭层面的控制变量后,交互项的系数虽有所下降,但仍然在1%的水平上显著为正,结果表明农村集体产权制度改革带动农户人均纯收入提高了2981.1183元,表明农村集体产权制度改革显著促进了农户收入增加。说明控制变量的加入对交互项的回归系数没有明显影响,政策估计结果保持稳健。由基准回归结果可以得出,整体上农村集体产权制度改革有利于农户家庭收入水平的提高,且农户增收的效果显著。就其他控制变量而言,除了户主的年龄、健康情况和家庭社会地位外,其余变量也均对农村家庭人均纯收入产生显著的正向影响。
2.PSM-DID回归模型。
考虑到可能存在的内生性问题,本文采用了PSM-DID模型对政策的作用效果再次进行了估计。在回归前,首先进行平衡性检验和共同支撑区域检验,随后运用多期DID模型重新检验农村集体产权制度改革对农民收入的促进效应。表3展示了采用核匹配方法估计的农村集体产权制度改革对农民增收影响的作用效果。可以看出,与基准回归结果(见表2)相比基本没有变化,无论是否加入控制变量,交互项系数均显著为正,且系数大小变化不大。整体来看,农村集体产权制度改革对农民收入增长确实具有一定促进作用。

除了使用核匹配的方法外,本文还使用3对1、1对1最近(k)邻匹配的方法给位于试点县的样本农户(处理组)匹配对照组农户,使得处理组和对照组农户在开展农村集体产权制度改革之前尽可能没有显著的差异,以减少可能的内生性影响。在此基础上,再利用DID模型识别出农村集体产权制度改革对农户收入增长的净影响。表4给出了基于最近(k)邻匹配后的DID估计结果,与基准回归结果(见表2)基本一致,说明前文基准回归得出的结果是稳健的。
(二)平行趋势及动态效果检验
通过前文的实证结果可以发现,农村集体产权制度改革能够有效改善农户的收入状况,而一些不可观测的遗漏因素可能对该结论的可靠性产生影响。因此,为了验证上述结论的可靠性,本文对模型进行了识别假定检验。

借鉴已有研究(Ferrara等,2012;彭凌志等,2024),本文采用事件分析法对农村集体产权制度改革的动态效应进行研究。在具体操作上,重新定义式中的核心解释变量为农村集体产权制度改革试点县批准前和批准后若干年的虚拟变量,被解释变量不变,设置如下模型:
yict=α+∑t≥−84γtDict+βXit+ρt+ϑc+ρtωp+εct(4)
其中,当t=0时,表示批准农村集体产权制度改革试点县的当年年份,t取负数表示农村集体产权制度改革推行前t年,t取正数表示农村集体产权制度改革推行后t年。由于本文使用的样本数据是2011年、2013年、2015年、2017年以及2019年,因此t的取值范围为-8、-7、-6、-5、-4、-3、-2、-1、0、1、2、4。由于事前和事后的年份数量相差较大,此处采取归并处理,将事前时期归并成5期,即把事前第8期、第7期以及第6期(t=-8、t=-7以及t=-6)的数据汇总到事前第5期(t=-5)。上述模型调整如下:
yict=α+∑t≥-84γtDict+βXit+ρt+ϑc+ρtωp+εct(5)
在此基础上以试点开展前一期作为基期进行平行趋势和动态效果检验,结果如图2所示。可以看出,在试点开展之前,试点开展相对时间均不显著,且系数大小存在上下波动情况,说明在试点开展之前,处理组和对照组没有显著差异,即通过了平行趋势检验。这表明在改革实施前,两组农户的收入变化趋势相似,不存在系统性差异,即未受到改革预期等因素的干扰,为准确评估改革效应提供了可靠的参照。在试点开展后,试点开展相对时间的系数有明显的上升趋势,且除了第2期外,在试点开展当期、第1期和第4期均显著且系数符号为正,基本可以说明开展农村集体产权制度改革对农民收入产生了显著正向影响。从时间趋势上看,改革的积极效应随着时间推移逐渐显现,这可能是因为改革措施在实施初期需要一定的时间来调整和适应,如集体经济组织的运营机制需要逐步完善,农民对新的产权制度和经营模式也需要时间来熟悉和接受。在改革初期,农民可能对新政策持观望态度,参与积极性不高,或者在新制度下的合作组织、经营模式等尚未磨合顺畅,导致收入增长不明显。而随着时间推移,各项改革措施逐步落地生根,农民开始积极参与并适应新的经济环境,从而使得收入效应逐渐释放。

图2农村集体产权制度改革对农户收入影响的动态效果
(三)稳健性检验
1.连续型变量取对数。
考虑到本文连续型变量数值较大,在对模型中连续型变量取对数后进行稳健性检验。表5列给出的对连续型变量取对数后回归结果显示,交互项的系数为0.1253,并且通过了1%的统计水平检验,说明农村集体产权制度改革带动农户收入提高了12.53个百分点,验证了基准回归结果得出结论的稳健性。
2.控制变量滞后一期。
本文考虑到所选的控制变量可能与农村集体产权制度改革之间产生反向影响,将所有控制变量滞后一期代入式重新进行回归,以降低潜在内生性的影响。表5列给出了所有控制变量滞后一期后的基准回归结果,可以看出,交互项的系数为2673.9471,并且通过了1%的统计水平检验,说明农村集体产权制度改革对农民增收的效应显著,再次验证了基准回归结果的稳健性。
3.更改样本时间。
前文的回归主要是基于2011—2019年的样本,为了得到更可靠的结论,本文删除了开展试点前2011年的数据,开展试点前的样本只保留2013年,再次对农村集体产权制度改革的增收效应进行回归检验。结果如表5列所示,交互项的系数几乎没有变化,仍然在1%的水平上显著为正,说明样本时间的改变并未影响结论的可靠性,再次验证了基准回归结果的稳健性。
4.更改政策冲击时间。
由于本文的事前数据有两期,因此可以将政策冲击时间提前,通过反事实检验农村集体产权制度改革的政策效果。本文的具体做法是将处理组推行农村集体产权制度改革的时间提前至2013年,虚拟设定2013年为农村集体产权制度改革试点县的政策冲击时点,将样本分为政策实施之前和政策实施之后,处理组和对照组仍为原先的处理组和对照组,再基于式进行估计。根据反事实检验,如果此时的交互项未对农户家庭人均纯收入产生显著影响,那么就表明在农村集体产权制度改革创建之前确实不存在其他的影响处理组样本和对照组样本的系统性误差,也说明本文前文由基准回归结果得出的结论是可信的。反之,如果此时的交互项对农户家庭人均纯收入产生了显著性影响,那么表明农村集体产权制度改革的增收效应不仅来自于自身政策的影响,还可能由于其他因素的存在而受益,此时由基准回归结果得出的结论可能存在偏误。表5列为更改政策冲击时间后的回归结果,交互项系数不再显著,这表明农户家庭人均纯收入水平的提高确实来自于农村集体产权制度改革,而非其他因素的影响,从而可以反推出基准回归结果是稳健的。

5.安慰剂检验。
安慰剂检验的思路是在所有样本中随机设置虚拟试点县和非试点县,然后使用DID模型进行估计。利用Stata软件从所有样本县(市、区)中随机抽取部分样本县(市、区)作为处理组,同时随机选择试点开展时间,然后重新对其进行双重差分估计,得到核心解释变量的参数估计结果。重复该过程500次,再将500次估计的系数核密度估计值以及p值分布呈现在图3中。其中,随机处理得到的系数估计值集中在0附近,而且p值绝大多数超过0.1。基准回归中农村集体产权制度改革对农民增收效应的系数显著区别于安慰剂检验测试的结果。这在一定程度上说明了基准回归估计结果具有稳健性。

图3农村集体产权制度改革对农户收入影响的安慰剂检验
五、进一步分析
(一)异质性检验
前文实证结果表明,从全样本来看农村集体产权制度改革对农户收入产生了显著的正向影响,但农村集体产权制度改革对处于不同收入组别的农户影响效果如何仍然需要进一步验证。农户收入实现包容性增长是缩小农民间收入差距的重要前提条件,对农村整体发展具有重要意义。本文按照2010年的收入情况,将样本分为低收入、较低收入、中等收入、较高收入以及高收入5个收入组别,分别进行回归检验,结果如表6所示。从表6中可以看出,只有列的回归结果显著为正,数值为4317.9082。列为处于最低收入组农户的回归结果,这表明农村集体产权制度改革使得收入较低的农户实现了显著增收,增收幅度为4317.9082元,证明农村集体产权制度改革使农户收入实现了包容性增长。可能的原因是,农村集体产权制度改革促进了生产要素的合理流动和高效配置,提高了资源使用效率,这有助于提升农村经济的整体竞争力,特别是对于资源较少的低收入人群,能够通过改革获得更多的发展机会。在改革过程中,农村集体资产的重新整合和股份量化建立健全了权利和机会平等机制(梁春梅等,2018),使得低收入农户能够以较低的门槛参与到集体经济发展中,获得资产收益分红。
(二)作用机理检验
在对农村集体产权制度改革与农户收入之间的关系进行研究后,本文进一步对其中的作用机理进行检验。本文将农户分为生产型农户和兼业型农户,从土地要素重新配置和劳动力资源配置两个方面检验农村集体产权制度改革对兼业型农户收入影响的作用机理,用农业生产投入来检验农村集体产权制度改革对生产型农户收入影响的作用机理。
土地要素重新配置的中介效应回归结果如表7列和列所示。列结果表明,农村集体产权制度改革对土地资源配置具有显著的正向影响。在加入中介变量、农村集体产权制度改革交互项后,农村集体产权制度改革对农户收入仍然具有显著正向影响,但土地资源配置的系数却不显著,且系数为负。该结果反映出,在开展农村集体产权制度改革后,农户并未通过土地转出提高收入水平。可能的原因是,本文所使用的样本只有较少的农户(11.41%)将土地流转了出去,并且土地流转市场的不完善严重制约了土地资源的优化配置和价值实现,目前农村地区普遍还未形成完善的土地流转价格机制(顾宁等,2023),由于信息不对称,农民难以获取准确的土地市场价格信息,导致土地流转价格偏低且不稳定。通常来说兼业型农户土地面积相对较少,而农村地区目前土地流转的租金价格较低,定价较为随意,并且还有部分农户将土地流转给其亲属使用,并未收取租金,这导致通过土地流转直接产生的增收效果有限。

劳动力资源配置的中介效应回归结果如表7列和列所示。第一步检验的结果表明,农村集体产权制度改革能够显著影响农村家庭劳动力资源配置,促使农户家庭劳动力向非农就业转移。进一步以农户人均纯收入为被解释变量,以试点政策交互项和农村家庭劳动力转移为核心解释变量进行回归发现,农村集体产权制度改革和农村家庭劳动力资源配置对农户收入均具有显著正向影响。该结果表明农村集体产权制度改革会通过促进农村家庭劳动力向非农产业转移从而对农户增收产生显著的促进作用。从劳动力市场供需理论来看,改革打破了城乡劳动力市场的分割,释放了农村劳动力市场的活力。农村劳动力向非农产业转移,增加了非农产业的劳动力供给,满足了城市和农村非农产业发展对劳动力的需求。在非农产业中,劳动力的边际生产力相对较高,能够获得更高的工资报酬,从而提高农民的整体收入水平。农村劳动力进入城市制造业或服务业,通过提供劳动获取工资收入,实现了收入来源从单一农业向多元化的转变(彭凌志等,2024)。同时,劳动力的流动也促进了城乡之间的经济交流与融合,带回城市先进的生产技术、管理经验和市场信息,有助于推动农村产业升级和经济发展(罗明忠等,2022),进一步创造就业机会,形成良性循环,持续促进农户增收。

本文针对以农业生产为主的生产型农户进行机制检验,农业生产投入的中介效应回归结果如表8列和列所示。第一步检验的结果表明,开展农村集体产权制度改革后,农户加大了农业生产的投入成本。再以农户人均纯收入为被解释变量,以试点政策交互项和农村家庭生产投入成本为核心解释变量进行回归,结果如表7列所示。可见,农村集体产权制度改革和农村家庭生产投入成本对农户增收的影响均显著为正。该结果表明,农村集体产权制度改革能够促进生产型农户增加农业生产的投入,进而提高其收入水平。种子、化肥、农药、农业机械等生产要素投入的增加,有助于提高农业生产效率以及农产品产量和质量。在市场价格相对稳定的情况下,产量和质量的提升直接转化为销售收入的增加,从而提高了农户的经营性收入。例如,使用优质种子和科学施肥方法可以提高农作物产量,采用先进的农业机械可以提高生产效率,降低人工成本,使农户在农产品销售中获得更多利润。同时,改革带来的产权明晰和政策稳定性增强了农户对农业生产的信心,激励他们加大长期投资(孔祥智等,2016),进一步优化生产结构,采用新技术、新品种,提高农业生产的现代化水平,从而持续增加经营性收入,实现农业可持续发展和农户收入的稳定增长。

六、结论与启示
(一)研究结论
本文将开展农村集体产权制度改革视为一次准自然实验,基于2011—2019年微观农户面板数据,利用DID和PSM-DID等方法准确识别了农村集体产权制度改革对农户收入的影响,并对其动态效果和作用机制进行了探讨和分析。经过实证检验,本文的主要研究结论如下。
1.农村集体产权制度改革对农户具有显著的增收效应,且对低收入农户的影响效果更明显。通过多时点双重差分法的实证分析发现,改革带动农户人均纯收入显著增加,且经过一系列稳健性检验,结果具有高度可靠性。这表明改革在实践中有效促进了农村经济发展,为农民收入增长提供了有力支撑,是推动农村发展、实现乡村振兴战略目标的关键举措之一。同时,异质性检验结果显示,改革对低收入农户的增收效果更为突出,这体现了改革在促进农村社会公平、推动包容性增长方面的重要意义,有助于缩小农村内部的收入差距,构建更加和谐、均衡的农村经济社会结构。
2.从作用机制来看,改革主要通过劳动力资源重新配置和农业生产投入增加来促进农民增收。在劳动力资源方面,改革打破了城乡劳动力市场壁垒,促使农村劳动力从农业向非农产业转移,实现了劳动力资源的优化配置,使农民在第二、三产业中获得了更高的工资性收入,拓宽了收入来源渠道,提升了家庭经济水平。在农业生产投入方面,改革激发了农户的生产积极性,使其更有意愿和能力加大对农业的资金、技术等投入,进而提高农业生产效率和农产品的市场竞争力,推动经营性收入的增长,为农业可持续发展和农民长期稳定增收奠定了坚实基础。农村集体产权制度改革的重要目标之一是通过提高农户财产性收入进而提高收入的整体增长,土地是农民重要的资产,是农民财产性收入提升的关键。然而,土地资源重新配置在增收中的作用尚未充分发挥,主要原因是当前农村土地流转市场存在诸多不完善之处,如流转价格机制不健全、信息不对称等,限制了土地资源的优化配置和价值实现,需要在后续改革中重点关注和解决。
(二)政策启示
基于上述结论,本文得出如下政策启示。
1.继续推进农村集体产权制度改革工作,提升改革成效。
提升农村集体产权制度改革成效的关键在于巩固成果、借鉴成功案例,确保改革措施有效持久。通过总结和推广改革中的成功经验,以点带面,推动改革在更大范围内取得实效,为实现农民增收、农村经济可持续发展及促进社会经济繁荣提供更稳定和可持续的制度保障。
2.针对劳动力资源配置,加强农村劳动力技能培训体系建设。
一是加强技能培训。政府和相关部门可以根据市场需求和农村劳动力特点,针对兼业型农户组织开展多样化的技能培训项目,提高其非农就业技能,增加非农就业机会,进而提高收入水平。二是促进就业信息流通。建立和完善农村劳动力市场信息平台,为农户提供更多的就业信息和岗位匹配服务,促进劳动力有序转移就业,提高就业质量和工资水平。
3.围绕农业生产投入,完善农业支持政策。
一是提高农业补贴和信贷支持。政府可以通过增加农业补贴和提供优惠的农业信贷政策,降低生产型农户的生产成本,鼓励他们增加农业生产投入。二是推广现代农业技术。加强农业科技研发和推广应用,建立健全农业技术服务网络,为农户提供及时、有效的技术指导,帮助生产型农户掌握现代农业技术,提高农业生产效率和产品质量,从而增加收入。三是建立并完善风险保障机制。推广农业保险制度,减少农户因自然灾害等不可预测因素造成的损失,保障他们的农业生产投入和经营收入。
4.完善土地流转价格形成机制。
一是加强土地流转市场的规范化建设,建立科学合理的土地价格评估体系,引入第三方评估机构,确保土地流转价格公平合理,反映土地真实价值。二是完善土地流转信息服务平台,保障农村土地流转交易公开、公正、透明,赋予农村居民在土地流转中更多的知情权、谈判权、监督权和决策权,提高土地流转效率。三是健全土地交易制度,保障农民的合法土地权益,鼓励长期稳定的土地流转,探索农村土地多元流转方式,让农民土地收益最大化。